Гильотина электромеханическая Stalex Q11-3x1250A
Описание
Гильотина электромеханическая Stalex Q11 разработана для резки металлического листа и тонких пластин. Широко используется в автомобильной, кораблестроительной отрасли и строительстве.
Особенности станка:
- Механический задний упор имеет счётчик длины
- Простая и быстрая регулировка зазора между ножами
- Верхний и нижний нож имеют двухстороннюю заточку
- Ножная педаль позволяет оператору мобильно управлять гильотиной, одновременно работая с подачей листа
- Два режима резки при нажатии на ножную педаль – разовая и автоматическая
- Рабочий ход ограничен движением хода кривошипно-шатунного механизма и не регулируется
- Предварительный прижим материала перед моментом резки (прижим имеет резиновую вставку)
- Расстояние от заднего упора до линии реза (съёмный упор) – 635мм
- Ширина рабочего стола – 400мм
- Длина передних удлинителей – 590мм
- Количество передних удлинителей – 2шт
- Количество мест для установки передних удлинителей – 1250 – 4 положения
- Боковой упор для фиксации листа по 90°
- Освещение рабочего стола
- Лист улавливается с помощью пневматической системы поддержки листа
- Передний листовой поддон-накопитель для заготовок небольшой ширины
- Световая задняя система безопасности предотвращающая доступ человека во время работы станка, в зону резания с внутренней стороны станка
- Передняя сторона станка имеет защитный щиток предотвращающая случайный доступ в зону резания
Отличительные особенности модели Q11-3x1250A от модели Q11-3x1250:
- Лист улавливается с помощью пневматической системы поддержки листа.
- Передний листовой поддон-накопитель для заготовок небольшой ширины.
- Световая задняя система безопасности предотвращающая доступ человека во время работы станка, в зону резания с внутренней стороны станка.
- Передняя сторона станка имеет защитный щиток предотвращающая случайный доступ в зону резания.
- Двигатель – 4 кВт
Характеристики
| Толщина металла сталь σв ≤400МПа (мм) | 0,8-3 |
| Ширина реза, мм | 1250 |
| Максимальная ширина листа, мм | 1250 |
| Угол резки, ° | 2 |
| Частота ходов в мин. | 28 |
| Высота стола, мм | 830 |
| Задний упор гильотины, мм | 630 |
| Двигатель с регулируемой скоростью, кВт | 4 |
| Габариты (ДхШхВ), мм | 1870 х 1160 х 1430 |
| Вес (нетто), кг | 980 |
| Вес (брутто), кг | 1140 |
*Макс. толщина - указана для обычной стали с пределом прочности σв, который не должен превышать параметр σв <400 МПa (1 Н/мм2 = 1 MПa), для нержавеющих и труднообрабатываемых сталей не предназначена.
Следует избегать резки материала с превышением толщины или с твердыми наплывами, шлаком, сварочными швами линией и прочими дефектами с чрезмерной твердостью.
Нашли ошибку в описании? Сообщите нам!Комплектация и особенности
Конструктивные особенности:
Режущие ножи имеют две рабочие кромки, что значительно увеличивает срок их эксплуатации до первой шлифовки. Прижим листа выполняется автоматически перед резкой. Задний упор имеет точную ручную регулировку, что позволяет быстро настроить задний упор и установить необходимую ширину резки. Лист улавливается с помощью пневматической системы поддержки листа. Передний листовой подлон-накопитель. Световая задняя система безопасности предотвращающая доступ человека во время работы станка, в зону резания с внутренней стороны станка. Передняя сторона станка имеет защитный щиток предотвращающая случайный доступ в зону резания.

Данный тип станка оборудован понижающим приводом. Малое колесо цепной передачи, находящееся на моторе с регулируемой скоростью, вращает большое колесо и заставляет вращаться колесо эксцентриситетного соединения.

Основные части, такие, как корпус станка, корпус верхнего ножа, рабочий стол станка и прочие, имеют сварную конструкцию и выполнены из стали - обеспечивая долговечность и надёжность оборудования. Станок обладает высокой работоспособностью, выполнен в оригинальном дизайне и отвечает требованиям безопасности благодаря системе защиты отключения.
Соотношение толщины пластины и режущей кромки:

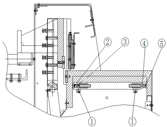
Настройка режущей кромки
Чтобы увеличить ширину режущей кромки, слегка открутите винт 1 и гайку 3, а гайку 4 закрутите в положение болта 5. Чтобы уменьшить ширину режущей кромки, слегка открутите винт 1 и гайку 4, а гайку 3 закрутите в положение болта 2. Проверьте положение режущей кромки с помощью щупа, закрутите все гайки и винты и удостоверьтесь, что толщина пластины подходит.

Электрошкаф имеет кнопку аварийного выключения и 2 переключателя: первый переключатель на включение/выключение станка; второй переключатель на два режима резки при нажатии на ножную педаль – разовая и автоматическая. Механический задний упор имеет счётчик длины.

Доставка
Масса брутто, кг: 1 140
Габариты в упаковке ДхШхВ, мм: 1870x1160x1430
Стоимость доставки данного груза до Москвы рассчитывается индивидуально.