Головка шлифовальная для токарного станка HI-PRO ВГР-300
Каталог
Описание
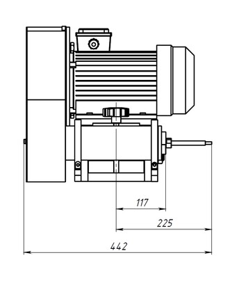
Для расширения возможностей токарного станка выпускается специальная механизированная оснастка - шлифовальная головка ВГР-300. Она состоит из электродвигателя мощностью 3 кВт, подключаемого в электросеть токарного станка, станины, устанавливаемой на универсальном токарном станке вместо штатного резцедержателя, и скоростного шпинделя.
Шлифовальная головка ВГР-300 предназначеная для токарных станков типа 1М63 и других подобных универсальных станков.
Особенности головки:
- Большая мощность и производительность, по сравнению со шлифовальной головкой ВГР-150
- Приводные валы на двойных радиально-упорных прецизионных подшипниках с высокой несущей способностью
- Высокая частота вращения у внутришлифовального шпинделя и низкая - у шпинделя для наружной шлифовки
- Максимальный диаметр шлифовального круга для наружной шлифовки - 350 мм
- Диапазон биения шпинделя шлифовальной головки: - допустимое торцевое биение – 0,02 мм; - допустимое радиальное биение – 0,04 мм
- Высокая чистота поверхности
Характеристики
| Глубина шлифования, мм | 80 |
| Длина станины станка (РМЦ), мм | 1000 и более |
| Допустимое торцевое биение шпинделя, мм | 0,02 |
| Допустимое радиальное биение шпинделя, мм | 0,04 |
| Наружный шлифовальный шпиндель | |
| Размер круга (Ø х Ш х отв), мм | 300 х 32 х 76 |
| Скорость холостого хода при 50 Гц, об/мин | 1500 |
| Внутришлифовальный шпиндель | |
| Диаметр шлифования, мм | 16 и более |
| Размер круга (Ø х Ш х отв), мм | 25 х 20 х 6 |
| Посадка оправки для внутренней шлифовки | М14х1,5 |
| Скорость холостого хода при 50 Гц, об/мин | 3500 |
| Дополнительные характеристики | |
| Мощность, кВт | 3 |
| Габариты (ДхШхВ), мм | 700х500х520 |
| Масса, кг | 80 |
Комплектация и особенности
Стандартная комплектация:
- Головка шлифовальная
- Шпиндель для наружной шлифовки
- Шпиндель внутренней шлифовки
- Круг абразивный 300х40х127 мм
- Оправка с абразивным кругом Ø 16 мм
- Оправка с абразивным кругом Ø 25 мм
- Ремень плоский бесшовный
- Ремень клиновой
- Карандаш алмазный для правки кругов
- Держатель алмазного карандаша
- Ключ шестигранный 5 мм
- Ключ шестигранный 6 мм
- Ключ шестигранный 10 мм
- Ключ гаечный 8 мм
- Ключ гаечный 17х19 мм
- Ключ гаечный 24х27 мм
- Ключ гаечный 30х32 мм
- Ключ гаечный 36х41 мм
Доставка
Параметры груза
Масса брутто, кг: 80
Габариты в упаковке ДхШхВ, мм: 700x500x520
Стоимость доставки данного груза до Москвы рассчитывается индивидуально.
Масса брутто, кг: 80
Габариты в упаковке ДхШхВ, мм: 700x500x520
Стоимость доставки данного груза до Москвы рассчитывается индивидуально.