Тиски станочные двухповоротные QHK125L
Описание
Тиски станочные двухповоротные тип 3422 QHK, предназначены для использования на фрезерных, сверлильных и прочих станках. Тиски могут быть повернуты в двух плоскостях. На 360° в горизонтальной плоскости и наклонены от 0° до 90° в вертикальной плоскости и относительно основания. Массивная и прочная конструкция с закрытым винтом защищает винт от попадания грязи. Упорный подшипник, установленный на валу, позволяет без затруднений создавать большое усилие зажима. Съемные губки отшлифованы и закалены, что обеспечивает их долговечность и сохранение точности при работе.
Тиски изготовлены из высококачественного чугуна. Точность тисков: параллельность ≤ 0,025 мм / 100 мм, перпендикулярность ≤ 0,025 мм.
Назначение и характеристики тисков
Модель QHK – это двухповоротные станочные тиски, конструкция которых позволяет повернуть их вокруг вертикальной и нагнуть относительно оси горизонтальной. Конструкция сочетает в себе достаточную жесткость, большое усилие зажима, высокую стабильность и надежность, а также большое расхождение губок. Они равнозначно хороши и при тяжелом резании и идеально предназначены для финишной обработки. Их можно использовать как вспомогательное оборудование на сверлильных, фрезерных, заточных, шлифовальных и прочих станках предназначенных для механической обработки.
Характеристики
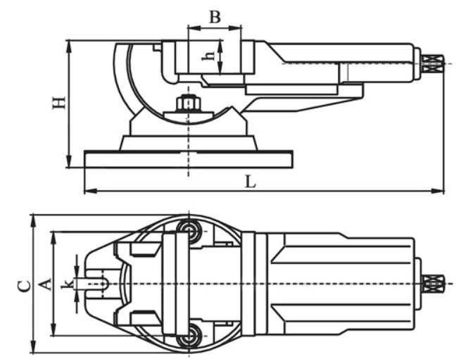
![]() | Параметры | QHK125L |
| Ширина губок (A),мм | 125 | |
| Максимальное раскрытие губок (B),мм | 140 | |
| С,мм | 230 | |
| Высота губок (h),мм | 46 | |
| Высота тисков (H),мм | 166 | |
| k ,мм | 18 | |
| Длина тисков (L),мм | 420 | |
| Вес, кг | 29 | |
| Усилие зажима, Н | 24 000 | |
| Ширина ключа,мм | 18 | |
| Размер квадрата под ключ,мм | 17 | |
| Болты крепления | М12 | |
| Шкала градуировки | 1° | |
| Угол наклона мак. | 90° | |
| Общие размеры (L х W х H),мм | 460x260x215 |
Комплектация и особенности
Комплектация:
1.Тиски - 1 шт.
2.Ручка 17х17 - 1 шт.
3.Т-болт прихвата М12х40 - 2 шт.
4.Гайки М12 - 2 шт.
5.Шайбы B12 - 2шт.
Видео
Доставка
Масса брутто, кг: 29
Габариты в упаковке ДхШхВ, мм: 460x260x215
Варианты доставки
| Доставка до адреса заказчика в Москве | 3 038 руб. | 1 день |
