Тиски станочные поворотные Q13 200
Каталог
Описание
Тиски изготовлены из высококачественного чугуна. Точность тисков: параллельность ≤ 0,025 мм / 100 мм, перпендикулярность ≤ 0,025 мм. Предназначены для работы на фрезерных и сверлильных станках.
Характеристики
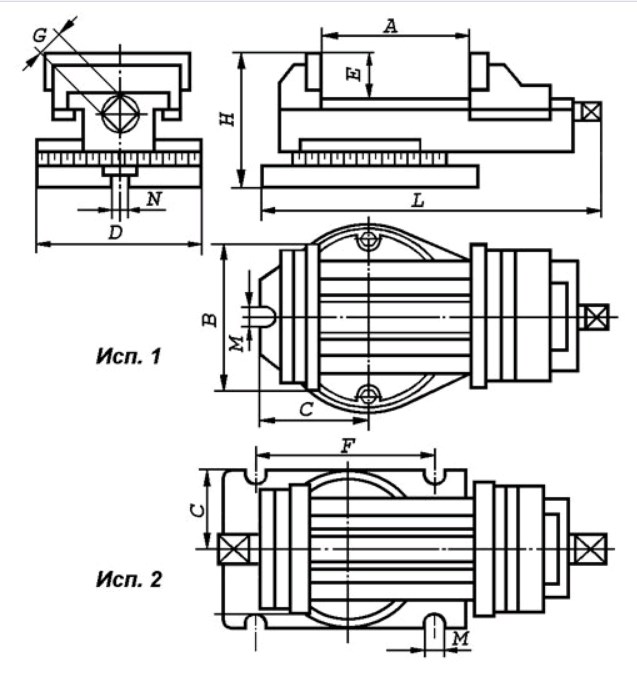
![]() | Параметры | Q13200 ИСПОЛНЕНИЕ 1 |
| Расхождение губок (A),мм | 220 | |
| Ширина губок (B),мм | 200 | |
| С, мм | 145 | |
| D, мм | 219 | |
| Высота губок (E),мм | 64 | |
| G, мм | 17 | |
| Высота тисков (H),мм | 170 | |
| Длина тисков (L),мм | 475 | |
| M,мм | 18 | |
| N,мм | 18 | |
| Вес, кг | 41 | |
| Ширина ключа,мм | 18 | |
| Квадрат под ключ | 19x19 | |
| Болт крепления | M16 | |
| Ширина лимба,° | 1 | |
| Размеры (LxWxH) , мм | 472x234x173 |
Комплектация и особенности
Комплектация:
1. Рукоятка 19x19 - 1 шт.
2. Т-болт крепления М16х55 - 2 шт.
3. Гайка М16 - 2 шт.
4. Шайба 16 - 2 шт.
Упаковка - картон
Видео
Доставка
Параметры груза
Масса брутто, кг: 41
Габариты в упаковке ДхШхВ, мм: 472x234x173
Масса брутто, кг: 41
Габариты в упаковке ДхШхВ, мм: 472x234x173
Варианты доставки
| Доставка до адреса заказчика в Москве | 3 251 руб. | 1 день |
Сроки и стоимость доставки являются ориентировочными и рассчитаны на основании данных транспортных компаний.
